
Canon ha diseñado una pantalla trasera plegable para cámaras sin espejo, imitando lo ya incorporado en los nuevos smartphones con la nueva ola de dispositivos plegables.
Esto marca un giro muy interesante en la línea de prestaciones del mayor fabricante de cámaras a nivel mundial. Después de años de ver las ventas de cámaras tradicionales erosionadas por los teléfonos con cámara ahora se abre una nueva ventana con las cámaras sin espejo, y donde antes los smartphones copiaban los mejores desarrollos de las cámaras, ahora ocurre lo contrario con esta innovación de Canon para sus cámaras mirrorless. La consttante innovación hace que los equipos sean cada vez más versatiles y funcionales, buscando nuevas prestaciones con las que los usuarios puedan usar los equipos con más faicilidad.

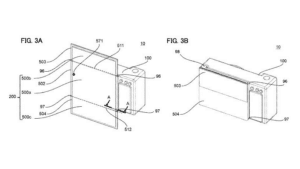
El primer diseño del fabricante Canon presenta una pantalla con dos bisagras plegables, que se abren como contraventanas antiguas. Desde SerPlus, este diseño sólo lo vemos interesante en cámaras compactas mirrorlees tipo EOS M50 MarkII o EOS M200.
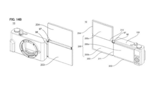
El segundo diseño presenta una sola bisagra plegable, que se abre como una tarjeta de felicitación orientada al paisaje. Esta segunda opción planteada por Canon, si la vemos útil y una posible prestación interesante para cámaras tipo EOS R, EOS RP, EOS R3, EOS R5, EOS R6, EOS R7 y EOS R10, así como para la gama cinema como la EOS R5 C.

En cualquier caso esto indica que los fabricantes de cámaras como Canon, están más activos que nunca buscando prestaciones diferenciadoras para sus cámaras mirrorless.
¿Llegaran estas pantallas plegables al mercado de cámaras?
¿Sólo las aplicará Canon o el resto de marcas como Sony, Nikon, Fuji etc…?
Lo seguro es que las respuestas las conoceremos en breve.
Como siempre, te recomendamos que al adquirir tu cámara y objetivo los protejas siempre con el Mantenimiento VIP GRATUITO EL PRIMER AÑO.
¿Cómo hacerlo? ¿Dónde?…. Pincha el siguiente enlace.
¡Estamos para ayudarte!
Más información en SerPlus
Puedes visitarnos en:
Barcelona
Madrid
DIGITALCAMERAWORLD